Introduction
This article is an abstract of IEC 60364-7-712:2017, aiming to help everyone better understand this standard. The following are the download links of this standard.
Downloads the IEC standards:
Terms and definitions
PV cell (photovoltaic cell, solar cell, solar photovoltaic cell)
most elementary device that exhibits the photovoltaic effect, i.e the direct non-thermal conversion of radiant energy into electrical energy
Note: The preferred term is “solar photovoltaic cel” or ” photovoltaic cell”, colloquially referred to as a “solar cell”.
PV module
smallest complete environmentally protected assembly of interconnected cells
PV string
circuit of one or more series-connected modules
PV array
assembly of electrically interconnected PV modules, PV strings or PV sub-arrays
Note 1: For the purposes of this document a PV array is all components up to the DC input terminals of an invertor or DC loads. A PV array does not include its foundation, tracking apparatus, thermal control, and other such components .
Note 2: A PV array may consist of a single PV module, a single PV string, or several parallel-connected strings, or several parallel-connected PV sub-arrays and their associated electrical components. For the purposes of this document the boundary of a PV array is the output side of the PV array disconnecting device.
PV sub-array
electrical subset of a PV array formed of parallel connected PV modules or PV strings
PV string cable
cable interconnecting the modules in a PV string, or connecting the string to a combiner box, PCE or other DC loads
Note: Examples of PV string cable are shown in Figure 712.3 and Figure
PV array cable
cable of a PV array that carries the total output current of the array
PV AC supply cable
cable connecting the AC terminals of the PV PCE to a distribution board of the electrical installation
PV AC supply circuit
circuit connecting the AC terminals of the PV PCE to a distribution board of the electrical installation
PV AC module
integrated module/PCE assembly where the electrical interface terminals are alternating current only and where no access is provided to the DC side
PV installation
erected equipment of a PV power supply installation
open-circuit voltage under standard test conditions (UOC STC)
voltage under standard test conditions across an unloaded (open) PV module, PV string, or PV array, or on the DC side of the PV PCE
open-circuit maximum voltage (UOC MAX)
maximum voltage across an unloaded (open) PV module, PV string, or PV array, or on the DC side of the PV PCE
short-circuit current under standard test conditions (ISC STC)
short-circuit current of a PV module, PV string, or PV array under standard test conditions
short-circuit maximum current (ISC MAX)
maximum short-circuit current of a PV module, PV string or PV array
backfeed current
maximum current that can pass from PCE to the PV array and its wiring under normal or single fault conditions
reverse current
current that can backfeed into a PV circuit from parallel connected strings or sub-arrays as the result of a fault, for example a short-circuit in the affected circuit
short-circuit current rating (ISCPV)
maximum prospective short-circuit current from the PV array for which the SPD, in conjunction with the disconnectors specified, is rated
DC side
part of a PV installation from the PV modules to the DC terminals of the PV PCE
AC side
part of a PV installation from the AC terminals of the PV PCE to the point of connection of the PV supply cable to the electrical installation
maximum power point tracking (MPPT)
control strategy whereby PV array operation is always at or near the point on a PV device’s current-voltage characteristic where the product of electric current and voltage yields the maximum electrical power under specified operating conditions
IMOD_ MAX_ OCPR
PV module maximum overcurrent protection rating
blocking diode
diode connected in series with module, strings and sub-array to block reverse current
bypass diode
diode connected across one or more cells in the forward current direction
Note: The purpose is to allow the module current to bypass shaded or broken cells to prevent hot spot or hot cell damage resulting from the reverse voltage biasing from the other cells in that module.
functional earthing
earthing a point or points in a system or in an installation or in equipment for purposes other than electrical safety
Note 1: Examples of functional array earthing include earthing one conductor through an impedance, or only temporarily earthing the array for functional or performance reasons.
Note 2: In a PCE intended for an array not connected to a functional earth that uses a resistive measurement network to measure the array impedance to earth, that measurement network is not considered a form of functional earth.
Irradiance (G)
electromagnetic radiated solar power per unit of area
ISC ARRAY
short-circuit current of the PV array at standard test conditions
ISC MOD
short-circuit current of a PV module or PV string at standard test conditions (STC), as specified by the manufacturer in the product specification plate
ISC S-ARRAY
short-circuit current of a PV sub-array at standard test conditions (STC)
power conversion equipment (PCE)
system that converts the electrical power delivered by the PV array into the appropriate frequency and/or voltage values to be delivered to the load, or stored in a battery or injected into the electricity grid
inverter
PCE which converts DC voltage and DC current of the PV array into AC voltage and AC current
isolated PCE
PCE with at least simple separation between the main power output circuits and PV circuits
Note: The simple separation may be either integral to the PCE or provided externally, for example a PCE with an external isolating transformer.
Note: In a PCE with more than two external circuits, there may be isolation between some pairs of circuits and no isolation between others. For example, an inverter with PV, battery, and mains circuits may provide isolation between the mains circuit and the PV circuit, but no isolation between the PV and battery circuits.
non-isolated PCE
PCE without the minimum separation between the main power output and PV circuits or with leakage currents greater than the requirements for an isolated PCE
PV array combiner box
enclosure where PV sub-arrays are connected and which may also contain overcurrent protection and/or switch-disconnection devices
Note: Small arrays generally do not contain sub-arrays but are simply made up of strings, whereas large arrays are generally made up of multiple sub-arrays.
PV string combiner box
enclosure where PV strings are connected which may also contain overcurrent protective devices and/or switch-disconnectors
PV sub-array cable
output cable of a PV sub-array that carries the output current of its associated sub-array
UOC ARRAY
open-circuit voltage at standard test conditions of a PV array
VOC MOD
open circuit voltage of a PV module at standard test conditions, as specified by the manufacturer in the product specification
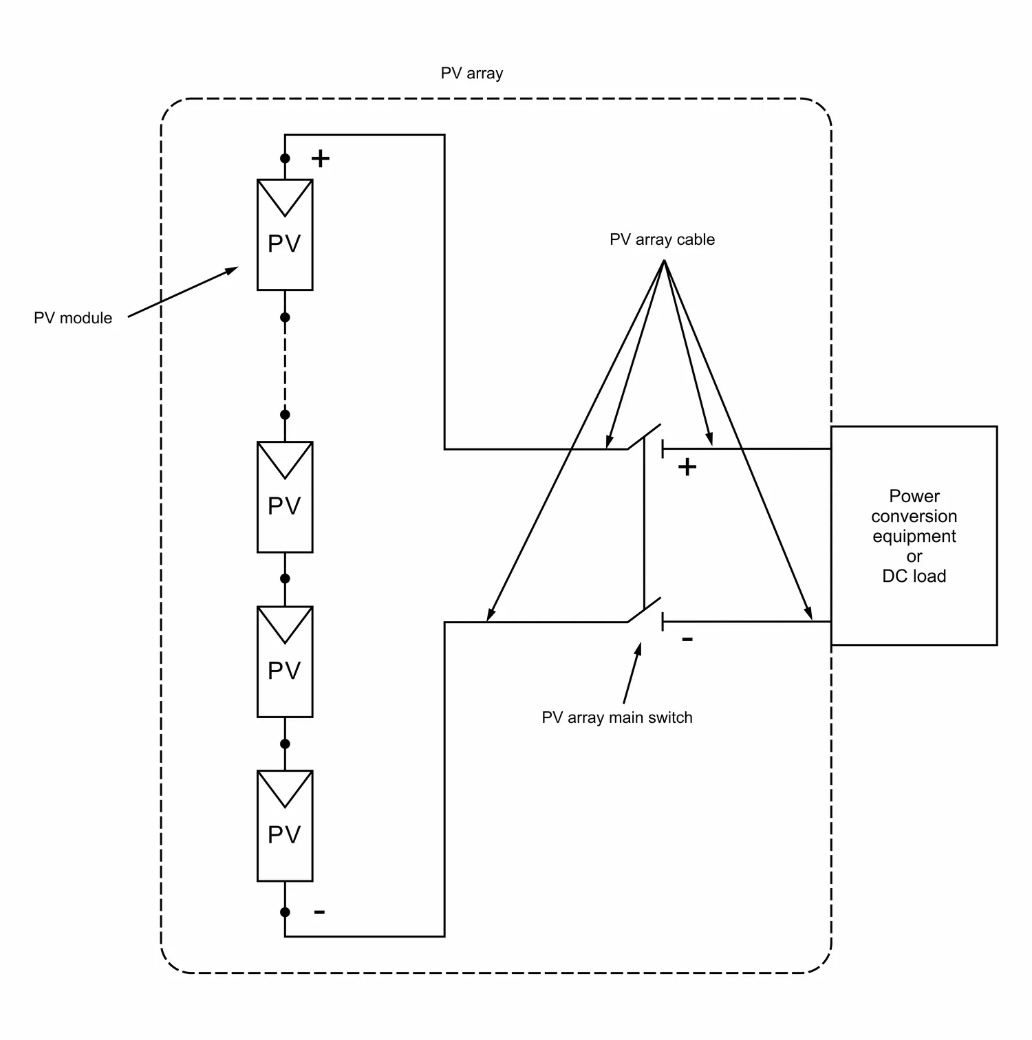
PV array configuration
PV arrays are used to supply power to an application circuit.
Figure 712.1 – General functional configuration of a PV installation
Three kinds of application circuit are considered:
- PV array is connected to DC loads;
- PV array is connected to AC installation via a PCE which includes at least simple separation;
- PV array is connected to AC installation via a PCE which does not include simple separation.
PV Installation architectures
The relation of a PV array to earth is determined by whether any earthing of the array for functional reasons is in use, the impedance of the earthing connection and also by the earth status of the application circuit (e.g. PCE or other equipment) to which it is connected. This and the location of the earth connection all affect safety for the PV array.
The requirements of manufacturers of PV modules and manufacturers of the PCE to which the PV array is connected shall be taken into account in determining the most appropriate system earthing arrangement.
Protective earthing of any of the conductors of the PV array is not permitted. Earthing of one of the conductors of the PV array for functional reasons is not allowed unless there is at least simple separation from mains earth provided either internally in the PCE or externally via a separate transformer.
If the simple separation is provided externally there shall be no other equipment connected to the same circuit as the PCE.
Note: A DC current-carrying conductor that is connected to earth is considered to be a live conductor.
Array electrical diagrams
The basic electrical configurations of single-string, multiple parallel-string and multi-sub-array PV respectively.
Figure 712.2 – PV array diagram – single string case
Figure 712.3 – PV array diagram – multiple parallel string case
Figure 712.4 – PV array diagram – multiple parallel string case with array divided into subarrays
Figure 712.5 – PV array using a PCE with multiple MPPT DC inputs
Figure 712.6 – PV array using a PCE with multiple DC inputs internally connected to a common DC bus
Use of PCE with multiple DC inputs
PV arrays are often connected to PCEs with multiple DC inputs. If multiple DC inputs are in use, overcurrent protection and cable sizing within the various sections of the PV array(s) are critically dependent on the limiting of backfeed currents.
PCEs with separate maximum power point tracking (MPPT) inputs
Where a PCE’s input circuits provide separate MPPT inputs, the overcurrent protection of the section of the array connected to those inputs shall take into account backfeed current.
Each PV section connected to an input may be treated for the purposes of this document as a separate PV array. Each PV array shall have a switch-disconnector to provide isolation of the PCE. The PV array switch disconnectors may be mechanically integrated in one device and commonly operated.
PCEs with multiple inputs internally connected together in the PCE
Where a PCE’s multiple input circuits are internally paralleled onto a common DC bus, each PV section connected to one of those inputs shall be treated for the purposes of this document as a sub-array and all the PV sections combined shall be classified as the complete PV array. Each PV sub-array shall have a switch-disconnector to provide isolation of the PCE. This function may be provided by a common PV array switch disconnector.
Series-parallel configuration
All PV strings within a PV array connected in parallel shall be of the same technology and have the same number of series connected PV modules, unless such modules are being tracked by separate MPPTs. In addition, all PV modules in parallel within the PV array shall have similar rated electrical characteristics, including short-circuit current, open-circuit voltage, maximum power current, maximum power voltage and rated power (all at STC), unless such modules are being tracked by separate MPPTs.
This is a design issue which needs to be considered by the project implementer, particularly when replacing modules or modifying an existing PV installation.
Considerations due to prospective fault conditions within a PV array
In any installation, the source of fault currents needs to be identified.
PV installations containing batteries may have high prospective fault currents due to the battery characteristic.
In a PV installation without batteries, the PV cells (and consequently PV arrays) behave like current sources under low impedance faults. Consequently, fault currents may not be much greater than normal full load currents, even under short-circuit conditions.
The fault current depends on the number of strings, the fault location and the irradiance level. This makes short-circuit detection within a PV array very difficult. Electric arcs can be formed in a PV array with fault currents lower than the operating current of an overcurrent protective device.
Performance issues
A PV array’s performance may be affected by many factors, including but not limited to:
- Shading or partial shading;
- Temperature rise;
- Voltage drop in cables;
- Soiling of the surface of the array caused by dust, dirt, bird droppings, snow, industrial pollution, etc.;
- Orientation;
- PV module degradation.
Care should be taken in selecting a site for the PV array. Nearby trees and buildings may cause shadows to fall on the PV array during some part of the day.
It is important that any shadowing be reduced as much as is practicable. Note that even a small shadow on the array can significantly limit its performance.
Issues of performance degradation due to temperature rise and the need for good ventilation are described in 712.515.101. Care should be taken to keep modules as cool as practicable.
In the design process the sizing of cables within the array and in cable connections from the array to the application circuit affects the voltage drop in those cables under load. This can be particularly significant in PV installations with low output voltage and high output current. It is recommended that under maximum load conditions the voltage drop from the most remote module in the array to the input terminals of the application circuit should not exceed 3 % of the PV array voltage at its maximum power point.
Pollution of the surface of PV modules caused by dust, dirt, bird droppings, snow etc. can significantly reduce the output of the array. Arrangements should be made to clean the modules regularly in situations where significant pollution may be a problem.
Protection for safety
Calculation of UOC MAX and ISC MAX
Functional earthing (FE) of a live part on the DC side
For functional reasons, some PV module technologies require a live part to be connected to earth.
Functional earthing of a live part of the DC side of a PCE is permitted, if there is at least simple separation between the AC side and the DC side by means of a transformer having electrically separate primary and secondary windings. The transformer may be either internal or external to the PCE. The transformer winding connected to the PCE shall not be earthed, and the PCE shall be suitable for this.
The functional earthing of a live part shall be performed at a single point of the DC side, near the DC input of the PCE or in the PCE itself.
The earthing should preferably be located between the disconnection device and the DC terminals of the PV PCE.
A cable used for functional earthing shall not be identified by the colour combination green-and-yellow. It is recommended to use the colour pink.
Protection against electric shock
PV equipment on the DC side shall be considered to be energized, even when the AC side is disconnected from the grid or when the PCE is disconnected from the DC side.
Protective measure: double or reinforced insulation
The equipment, for example PV modules, distribution boards or cabinets, used on the DC side shall be Class II or equivalent insulation, according to IEC 61140.
Protection against the effects of insulation faults without at least simple separation inside the PCE or on the AC side
The functional earthing of a live part on the DC side is not permitted.
In the event of an insulation fault on the DC side, either:
- the PCE shall be automatically disconnected from the AC side, or
- the faulty part of the PV array shall e automatically disconnected from the PCE.
Protection against the effects of insulation faults with simple separation inside the PCE or on the AC side
The functional earthing of a live part on the DC side is permitted.
Without functional earthing of a live part on the DC side, an insulation monitoring device (IMD), or another device offering equally effective monitoring, shall be installed.
Protection against overcurrent
Overcurrent within a PV array can result from faults in array wiring or from fault currents due to short-circuits in modules, in combiner boxes or in module wiring.
PV modules are current limited sources but can be subjected to overcurrents because they can be connected in parallel and also connected to external sources. The overcurrents can be caused by the sum of currents from
- multiple parallel adjacent strings,
- some types of PCEs to which they are connected and/or
- external sources.
Requirement for overcurrent protection
Overcurrent protection shall be provided in accordance with 712.430.3.102 to 712.433.1.101 and with PV module manufacturer’s requirements.
Overcurrent protective devices required for the protection of PV modules and/or their wiring shall be selected to reliably and consistently operate within 2 h when an overcurrent of 135 % of the nominal device current rating of the PV modules is applied.
Requirement for string overcurrent protection
String overcurrent protection shall be used if:
((Ns-1) x ISC_MAX) > IMOD_MAX_ OCPR
where:
Ns is the total number of parallel connected strings protected by the nearest overcurrent protective device.
When circuit-breakers with overcurrent protection elements are used, they may also provide the disconnecting means required in 712.536.2.101 to 712.536.2.103.
Requirement for sub-array overcurrent protection
Sub-array overcurrent protection shall be provided if more than two sub-arrays are connected in parallel.
Nature of protective devices
Blocking diodes used to connect the PV strings in parallel shall not be relied upon as a means of protection against overcurrents.
The overcurrent protective devices of the DC side shall be either gPV fuses in accordance with IEC 60269-6 or another device in accordance with IEC 60947 (all parts) or IEC 60898 (all parts).
Protection against overload current – PV string overload protection
Where string overload protection is required, either:
1) Each PV string shall be protected with an overload protective device, where the nominal overload protection rating of the string overload protective device shall be In where:
In > 1,5 x ISC_MOD and
In < 2,4 x ISC_MOD and
In ≤ IMOD_MAX_OCPR
or
2) Strings may be grouped in parallel under the protection of one overload protective device provided:
Ing > 1,5 x NTS x ISC_MOD and .
Ing < IMOD_MAX_OCPR -((NTS -1) x ISC_MOD)
where
In is the rated current or current setting of the string overload protective device,
Ing is the rated current or current setting of the group overload protective device,
NTS is the total number of strings in a group under the protection of one overload device.
Where circuit-breakers are used as devices for overload protection, IEC 60364 (all parts) also permits these to fulfil the role of a disconnecting means as required by 712 536.2.101 to 712. 536.2.103.
In some PV module technologies, ISC_MOD is higher than the nominal rated value during the first weeks or months of operation. This should be taken into account when establishing overload protection and cable ratings.
Figure 712.7 – Example of a PV array diagram where strings are grouped under one overload protective device per group
This is only an example and other switching, disconnecting and/or overload protective devices may be required in individual cases, but for simplicity these are not shown in this figure.
Note 1: This is a special case and the design is only possible where the overload protection rating of a PV module is much larger than its normal operating current.
Note 2: In case of specific constraints such as side by side mounting of equipment used simultaneously at nominal current and/or high ambient temperature, the choice of rated current for the protective device could be affected.
PV sub-array overload protection
The rated current or current setting (In) of overload protective devices for PV sub-arrays shall be determined with the following formulae:
In > 1,25 x ISC S-ARRAY and
In ≤ 2,4 x ISC S-ARRAY
The 1,25 multiplier used here instead of the 1 ,5 multiplier used for strings is to allow designer flexibility. A multiplier of 1,25 should not be used in areas where heightened irradiance occurs frequently as this would be likely to cause nuisance overload protective device operation.
Note: In case of specific constraints such as side by side mounting of equipment used simultaneously at nominal current and/or high ambient temperature, the choice of current rating of the protective device could be impacted.
PV array overload protection
PV array cable overload protection is only required for PV installations connected to batteries or where other sources of current may feed into the PV array under fault conditions. The rated current (In) of PV array overload protective devices shall be rated as follows:
In > 1,25 x ISC S-ARRAY and
In ≤ 2,4 x ISC ARRAY
The PV array overload protective devices are commonly installed between the battery or batteries and the charge controller as close as possible to the battery or batteries. If these devices are appropriately rated, they provide protection to both the charge controller and the PV array cable, and consequently no further PV array cable overload protection between the PV array and the charge controller is necessary. The 1,25 multiplier used here instead of the 1,5 multiplier used for strings is to allow designer flexibility. A multiplier of 1,25 should not be used in areas where heightened irradiance occurs frequently as this would be likely to cause nuisance overload operation.
Note: In case of specific constraints such as side by side mounting of equipment used simultaneously at nominal current and/or high ambient temperature, the choice of current rating of the protective device could be impacted.
Position of devices for overload protection – Overload protection location
Overload protective devices where required by 712.430.3.101 to 712 430.3.104, and 712.433.1.101 for PV array, PV sub-array, and PV strings shall be placed as follows.
- For string overload protective devices, they shall be where the string cables join the sub- array or array cables in the string combiner box (refer to Figures 712.3 and 712.4).
- For sub-array overload protective devices, they shall be where the sub-array cables join the array cables in the array combiner box (refer to Figure 712.4).
- For array overload protective devices, they shall be where the array cables join the application circuit or the PCE (refer to Figures 712.2 to 712.4).
Note: The location of the overload protective devices at the end of those cables furthest from the PV sub-array or string is to protect from fault currents flowing from other sections of the PV array or from other sources such as batteries. Due to the inherent current limiting characteristics of PV, there is insufficient fault current from the source in the faulted circuit itself to cause the overload protective device to operate.
An overload protective device required for a string cable or sub-array cable shall be placed in each live conductor (i.e. each live conductor not connected to the functional earth).
An exception applies for a string cable not in the same wiring system as sub-array cables, and for a sub-array cable not in the same wiring system as string cables. In these cases, an overload protective device need only be placed in one unearthed live conductor of the string cable or each sub-array cable. The polarity of this conductor shall be the same for all cables thus protected.
Protection of PV array cable
The continuous current-carrying capacity (Iz) of the PV array cable shall be greater than or equal to the maximum short-circuit current of the PV array:
ISC MAX of the PV array ≤ Iz
Protection of PV AC supply cable
The rated current for the overload protective device of the AC supply cable shall take into account the design current of the PCE. The PCE design current is the maximum AC current given by the PCE manufacturer or, failing that, 1,1 times its rated AC current.
Protection against short-circuit currents
The PV AC supply cable shall be protected from the effects of short-circuit by an overcurrent protective device installed at the connection to the designated distribution board of the electrical installation.
Protection against voltage disturbances and electromagnetic disturbances
Protection against transient overvoltages of atmospheric origin or due to switching
Taking into account the sensitivity of the setting up of the photovoltaic modules, detailed attention should be paid to the protection of the structure itself (building) against direct effects of the lightning; this subject is covered inIEC 62305 (all parts).
Overvoltage control – Protection against transient overvoltage
Where protection against transient overvoltage is required by IEC 60364-4-44:2007, Clause 443, such protection shall also be applied to the DC side of the PV installation.
Depending on the distance between the PCE and the origin of the installation, further protection against transient overvoltage may be required on the AC side.
Where IEC 60364-4-44:2007, Clause 443 does not require protection against transient overvoltage, a risk assessment according to 712.443.5.101 shall be performed.
Risk assessment for PV installations
Where the relevant data is available, a risk assessment may be carried out to evaluate if protection against transient overvoltage is required.
The method of risk assessment is based on the evaluation of the critical length:
Lcrit and its comparison with L.
SPDs shall be installed on the DC side of the installation where:
I ≥ Lcrit
where
- L is the maximum route length (m) between the PCE and the connection points of the photovoltaic modules of the different strings.
- Lcrit (m) depends on the type of PV installation, and is calculated according to Table 712.1:
| Type of installation | PV installation is attached to the building | PV installation is not attached to the building |
| Lcrit (m) | 115/Ng | 200/Ng |
| L ≥ Lcrit (m) | SPDs are required on the DC side | |
Table 712.1 – Calculation of the critical length Lcrit
- Ng is the lightning ground flash density (flash/km2/year) relevant to the location to the power line and connected structures. This value may be determined from ground flash location networks in many areas of the world. (IEC 62305-2:2010, Clause A.1 or IEC 60364-4-44:2007/AMD1:2015, 443.5)
Functional earthing terminal of PV array
When the PV array is earthed as described in 712.4.102 the connection to earth shall be made at a single point and this point shall be connected to the main earthing terminal of the electrical installation.
Note 1: Some electrical installations can have sub-earthing terminals. Connection of the PV functional earth to sub-earthing terminals is acceptable provided it has been considered for this use.
Note 2: The functional earth connection can be established inside the PCE.
In PV installations without batteries, this connection point shall be between the PV array and the PCE and as close as possible to the PCE.
In PV installations containing batteries, this connection point shall be between the charge controller and the battery protection device.
Note 3: If in some countries disconnection devices are required/allowed to interrupt functional earth conductors; the location of the earth connection is important in regards to interruption.
Selection and erection of electrical equipment
Equipment in outdoor locations shall have a degree of protection of at least IP 44 and a degree of protection against external mechanical impact not less than IK 07 in accordance with IEC 62262.
PV array wiring and associated components are often exposed to UV, wind, water, snow, heating due to direct solar radiation, and other environmental conditions. Particular attention is drawn to the need for measures to allow the escape of water that may accumulate even in watertight enclosures, and the need for measures against heating caused by direct solar radiation.
Component requirements
All components shall comply with the following requirements:
- Be rated for DC use where applicable;
- Have a voltage rating equal to or greater than the open-circuit maximum voltage determined in 712.512.1.1.101;
- Have a current rating equal to or greater than that shown in Table 712.2.
For some PV technologies the Isc current available during the first few weeks of operation is considerably greater than the normal rated value. In some technologies the ISC increases over time. Equipment shall be rated for the highest expected current value.
Where the DC voltage is conditioned (e .g. where a DC/DC converter is used), equipment shall be rated for the highest expected current and voltage values.
PV module class
Where the protective measure used on the DC side is double or reinforced insulation according to 712.412, PV modules shall be selected according to class II or equivalent insulation according to IEC 61140.
Where the protective measure used on the DC side is extra-low voltage by means of SELV or PELV, according to 712.414, PV modules shall be selected according to class II or class II or equivalent insulation according to IEC 61140.
Combiner box class
Where the protective measure used on the DC side is double or reinforced insulation according to 712.412, combiner boxes shall be selected according to class II or equivalent insulation according to IEC 61140.
Where the protective measure used on the DC side is extra-low voltage by means of SELV or PELV, according to 712.414, combiner boxes shall be selected according to class III or class II or equivalent insulation according to IEC 61140.
Wiring systems
The identification of AC and DC circuits shall be such that they are clearly distinguishable from each other (e.g. by labels or different coloured cables).
Selection and erection of PV modules in relation with external influences
Thermal aspects
Provisions shall be made in the mounting arrangement of PV modules to allow for the maximum expansion/contraction of the modules under expected operating temperatures, according to the manufacturer’s recommendations. Similar provisions shall be made for other applicable metallic components, including mounting structures, conduits and cable trays.
Mechanical loads on PV structures
The PV array support structures shall comply with national standards and regulations with respect to loading characteristics. Particular attention should be given to wind and snow loads on PV arrays.
Wind
PV modules, module mounting frames, and the methods used for attaching frames to buildings or to the ground shall be rated for the maximum expected wind speeds at the location according to local codes.
In assessing this component, the wind speed observed (or known) on site shall be used, with due consideration to wind events (cyclones, tornadoes, hurricanes, etc.). The PV array structure shall be secured in an appropriate manner or in accordance with local building standards.
Wind force applied to the PV array will generate a significant load for building structures. This load shall be accounted for in assessing the capability of the building to withstand the resulting forces.
Material accumulation on PV array
Snow, ice, or other material may build up on the PV array and shall be accounted for when selecting suitably rated modules, calculating the supporting structure for the modules and likewise, when calculating the building capability to support the array.
Note: Immediately after snow falls these loads are often evenly distributed. After some time they can be very unevenly distributed as the snow starts to slide down. This can lead to significant damage to the module and support structure.
Corrosion
Module mounting frames, and the methods used for attaching modules to frames and frames to buildings or to the ground, shall be made from corrosion resistant materials suitable for the lifetime and duty of the equipment, for example aluminium, galvanized steel, treated timber.
If aluminium is installed in a marine or other highly corrosive environment, it shall be anodized to a thickness and specification suitable for the location and duty of the equipment. Corrosive gases, such as ammonia in farming environments, also need to be taken into account.
Measures shall be taken to prevent electrochemical corrosion between dissimilar metals. This may occur between structures and the building and also between structures, fasteners and PV modules.
Stand-off materials shall be used to reduce electrochemical corrosion between galvanically dissimilar metal surfaces, for example nylon washers, rubber insulators.
Manufacturer’s instructions and local codes should be consulted regarding the design of mounting systems and any other connections such as earthing connections.
Types of wiring systems
Cables used within the PV array shall:
- Be suitable for DC application;
- Have a voltage rating of equal to or greater than the open-circuit maximum voltage determined in clause 712.512.1.1.101;
- Have a temperature rating according to the application, taking into account that PV modules frequently operate at temperatures of the order of 40 K above ambient temperature and therefore cable insulation of wiring installed in contact or near PV modules shall be rated accordingly;
- If exposed to the environment, be UV-resistant, or be protected from UV light by appropriate protection, or be installed in UV-resistant conduit or trunking;
- Be suitable for the expected conditions of exposure to water;
- Where copper conductors are used, have tinned, multistranded conductors in order to reduce degradation of the cable over time;
- In all installations operating at voltages exceeding extra-low voltage, be selected so as to minimize the risk of insulation faults (This is commonly achieved using cables having insulation and a non-metallic sheath, selected and installed in accordance with IEC 60364-4-41:2005, 412.2.4.1, particularly for cables that are exposed or laid in metallic tray or conduit. This can also be achieved by reinforcing the protection of the wiring as shown in Figure 712.9);
- Be flame retardant as defined in IEC 60332-1-2;
- Have conductors classified according to minimum class 5 of IEC 60228 where subject to movement (such as for tracking installations or where string cables are exposed to wind), or a minimum of class 2 of IEC 60228 where not subject to movement.
Note 1: Some countries require halogen free cables when those cables are routed through a building
Note 2: IEC 62930, Electric cables for Photovoltaic systems, is under development.
a) Single or multi conductor cable where each conductor is both insulated and sheathed
b) Insulated conductor cable – in insulated conduit/trunking
c) Single conductor cable – in metallic conduit/trunking
d) Steel wire armoured cable (usually suitable only for main DC cable)
Figure 712.9 – Examples of cables with reinforced protection
Cables on the DC side shall be selected and erected so as to minimize the risk of earth faults and short circuits.
Wiring loops
To reduce the magnitude of transient overvoltages, the PV array wiring shall be laid in such a way that the area of conductive loops is minimum (e.g. by laying cables in parallel as shown in Figure 712.10)
Figure 712.10 – PV string wiring with minimum loop area
String wiring
In the case where wiring of PV strings between modules is not protected by conduit or other enclosures, in addition to the requirements for all array wiring the following requirements shall also apply:
- cables are protected from mechanical damage, and
- the cable is so installed as to relieve tension in order to prevent the conductor from coming free from the connection.
Selection and erection of wiring systems in relation to external influences
Installation method
Cables shall be supported so they do not suffer fatigue due to wind/snow affects. They shall also be protected from sharp edges. Cables shall be supported so that their properties and installation requirements are maintained over the stated life of the PV plant. All non-metalic cable management systems exposed to sunlight shall be of a UV resistant type.
Note: Conduit, ducting and cable ties installed under an array might still be exposed to reflected UV radiation. Metalic cable ties can have sharp edges which over time and subject to wind affects could cause cable damage.
Current-carrying capacities
The ambient temperature for cables subjected to direct heating from the underside of PV modules shall be considered to be at least 70 °C.
Cross-sectional areas of conductors
Cable sizes for PV string cables, PV sub-array cables and PV array cable shall be determined with regard to overcurrent protection ratings where in use, the minimum current rating (refer to Table 712.2), the voltage drop and prospective fault current. The largest cable size obtained from these criteria shall be applied.
PV arrays not connected to batteries are current limited sources but because of parallel connection of strings, and sub-arrays, abnormally high currents can flow in array wiring under fault conditions. Overcurrent protection is specified where required and cables shall be capable of handling the worst case current from any remote part of the array through the nearest overcurrent protective device plus the worst case current available from any adjacent parallel strings.
The minimum cable sizes for PV array wiring, based on current-carrying capacity (Iz), shall be based upon a current rating calculated from Table 712.2.
In some PV module technologies ISC MOD is higher than the nominal rated value during the first weeks or months of operation, and in other technologies ISC MOD increases over time. This shall be taken into account when establishing cable ratings.
| Relevant circuit | Protection | Minimum current upon which cable cross sectional area and or other circuit ratings shall be chosen |
| PV string | PV string overcurrentprotection not provided | Current rating (In) of the nearest downstream overcurrentprotective device+ 1,25 × ISC MOD × (NS – 1)where:NS is the total number of parallel connected strings protected by the nearest overcurrent protective device.Note:i) The nearest downstream overcurrent protection may be the sub-array protection and if this is not present then it may be the array overcurrent protection if present.ii) When no overcurrent protection is used in the complete array then NS is the total number of parallel connected strings in the complete PV array; and the rated current (In) of the nearest overcurrent protective device is replaced by zero. |
| PV string overcurrent protection provided | Current rating (In) of the PV string overcurrent protectivedevice | |
| PV sub-array | PV sub-array overcurrent protection not provided | The greater of the following:a) Current rating (In) of the PV array overcurrentprotective device + 1,25 × sum of short circuit currentof all other sub-arraysb) 1,25 × ISC S-ARRAY (of relevant array)Note: When PV array overcurrent protection is not used, the In is replaced by zero in Equation. |
| PV sub-array overcurrent protection provided | Current rating (In) of the PV sub-array overcurrent protective device | |
| PV array | PV array overcurrent protection not provided | 1,25 × ISC ARRAY |
| PV array overcurrent protection provided | Current rating (In) of the PV array overcurrent protective device |
Table 712.2 – Minimum current rating of circuits
Voltage drop in PV installations
For efficiency reasons, other than electrical safety and correct functioning of equipment, consideration shall be given to the voltage drop in the PV installation.
When the PV installation is generating power, the voltage at the PCE terminals is higher than the voltage at the grid connection point. This voltage difference should be kept to a minimum in order to prevent the PCE from nuisance tripping on overvoltage.
Electrical connections
Male and female connectors mated together shall be of the same type from the same manufacturer i.e. a male connector from one manufacturer and a female connector from another manufacturer or vice versa shall not be used to make a connection.
Connectors shall comply with the following requirements:
- Be rated for DC use (IEC 62852);
- Have a voltage rating equal to or greater than the open-circuit maximum voltage
- Be protected from contact with live parts in connected and disconnected state (e.g. shrouded);
- Have a current rating equal to or greater than the current-carrying capacity for the circuit to which they are fitted;
- Be capable of accepting the cable used for the circuit to which they are fitted;
- Require a deliberate force to disconnect;
- If accessible by untrained people, then shall be of the locking type where two independent actions are required to disconnect;
- Have a temperature rating suitable for their installation location;
- If multi-polar, be polarized;
- Comply with Class II for PV installations operating above 35 V;
- If exposed to the environment, be rated for outdoor use, be UV-resistant and be of an IP rating suitable for the location;
- Shall be installed in such a way as to minimize strain on the connectors (e.g. supporting the cable on either side of the connector);
- Plugs and socket outlets normally used for the connection of household equipment to low-voltage AC power shall not be used in PV arrays.
Note: The purpose of this requirement is to prevent confusion between AC and DC circuits within an installation.
Connectors on the DC side
For PV installations not using SELV or PELV protective measures on the DC side, only connectors especially suitable for the DC side of PV installations shall be used.
Connectors in a location accessible to persons other than skilled or instructed persons shall either be of a type which can only be disconnected by means of a key or a tool or shall be installed within an enclosure which can only be opened by means of a key or a tool.
Wiring installation in combiner boxes
The following provisions apply to the installation of wiring systems combiner boxes.
All cable entries when installed shall maintain the IP rating of the enclosure.
Note: Water condensation inside combiner boxes can be a problem in some locations; provision can be made to drain water build-up.
Residual current devices
Where an RCD is used for protection of the PV AC supply circuit, the RCD shall be of type B in accordance with IEC 62423, unless:
- The manufacturer’s instructions state that the invertor provides at least simple separation between the AC side and the DC side, or
- The installation provides at least simple separation between the invertor and the RCD by means of separate windings of a transformer, or
- The invertor is in accordance with IEC 62109-1 and the manufacturer’s instructions do not require the use of a type B RCD, in which case the type of RCD shall be in accordance with the manufacturer’s instructions.
Detection, disconnection and alarm requirements
Requirements for detection of insulation faults, actions required and alarms depend on the type of system earthing and whether the PCE provides electrical separation of the PV array from the output circuit (e.g. the grid). Table 712.3 shows the requirements for measurements of PV array insulation resistance to earth and PV array RCM as well as the actions and alarms required if a fault is detected.
| System type | ||||
| Non-isolated PCE + No functional earth on PV array | Isolated PCE + No functional earth on PV array | Isolated PCE + Functionally earthed PV array | ||
| PV arrayinsulationresistanceto earth | Measurement | According to 712.531.3.101.1 | ||
| Action on fault | a) If the AC side is not part of an IT system:Shut down PCE and disconnect all live conductors of the AC circuitor all poles of the faulty portion of the PV array from the PCE b) If the AC side is part of an IT system:No action (PCE is allowed to operate). | Connection to the AC circuit is allowed (PCE is allowed to operate) | ||
| Alarm on fault | Indicate a fault in accordance with 712.531.3.101.3 | |||
| PV array residual current monitoring | Measurement | According to 712.531.3.101.2 | Not required | According to 712.531.3.101.2 |
| Action on fault | Shut down PCE and disconnect all live conductors of the AC circuit or all poles of the faulty portion of the PV array from the PCE | Functional earth connection shall be disconnected (see 712.531.3.101.2);connection to the AC circuit is allowed. (PCE is allowed to operate) | ||
| Alarm on fault | Indicate a fault in accordance with 712.531.3.101.3 Indicate | Indicate a fault in accordance with 712.531.3.101.3 | ||
| Instead of shutting down the PCE and disconnecting the AC circuit it is allowed to isolate the faulted parts of the PV array.Functional earthing has to be carried out according to 712.4.102.Systems using non-isolated PCEs where the AC circuit is referenced to earth are not allowed to use functional earthing on the PV side of the PCE see 712.4.102. | ||||
Table 712.3 – Requirements for different system types based on PCE isolation and PV array functional earthing
Array insulation resistance detection
Regarding detection and response to abnormal array insulation resistance to earth are intended to reduce hazards due to degradation of insulation.
A means shall be provided to measure the insulation resistance from the PV array to earth before starting operation and at least once every 24 h. This can be done by an insulation measuring device according to IEC 61557-2, or by an insulation monitoring device (IMD) according to Annex C of IEC 61557-8:2014, to prevent a possible high risk of fire.
This functionality for insulation resistance monitoring or measurement may be provided within the PCE.
Minimum threshold values for detection shall be according to Table 712.4.
| PV array rating,kW | R limit,kΩ |
| ≤20 | 30 |
| > 20 and ≤ 30 | 20 |
| > 30 and ≤ 50 | 15 |
| > 50 and ≤ 100 | 10 |
| > 100 and ≤ 200 | 7 |
| > 200 and ≤ 400 | 4 |
| > 400 and ≤ 500 | 2 |
| ≥ 500 | 1 |
Table 712.4 – Minimum insulation resistance thresholds for detection of failure of insulation to earth
It is recommended that the threshold of detection for insulation resistance should, where possible, be set at values greater than the minimum values specified in these calculations. A higher value will increase the safety of the PV installation by detecting potential faults earlier.
It is necessary to disconnect the PV array functional earth connection during the measurement.
The action on fault required is dependent on the type of PCE in use, as follows:
- For isolated PCEs, shall indicate a fault in accordance with 712.531.3.101.3 (operation is allowed); the fault alarm shall be maintained until the array insulation resistance has recovered to a value higher than the limit above;
- For non-isolated PCEs, shall indicate a fault in accordance with 712.531.3.101.3, and shall not connect to any earthed output circuit (e.g. the mains); the device may continue to make the measurement, may stop indicating a fault and may allow
- Connection to the output circuit if the array insulation resistance has recovered to a value higher than the limit above.
Residual current monitoring system
Where required by Table 712.3, residual current monitoring shall be provided that functions whenever the PCE is connected to an earth referenced output circuit with the automatic disconnection means closed. The residual current monitoring means shall measure the true RMS (both AC and DC components) residual current.
If the PCE AC output connects to a circuit that is isolated from earth, and the PV array is not functionally earthed, residual current monitoring is not required.
Detection shall be provided to monitor for excessive continuous residual current, and excessive sudden changes in residual current according to the following limits:
a) Continuous residual current: where the RCM indicates a residual current above the limits, disconnection by a switching device shall operate within 0,3 s and indicate a fault in accordance with 712.531.3.101.3 if the continuous residual current exceeds:
- Maximum 300 mA for PCEs with continuous output power rating ≤ 30 kVA;
- Maximum 10 mA per kVA of rated continuous output power for PCEs with continuous output power rating > 30 kVA.
Note: It is possible to implement distributed residual current monitoring for example at sub-array level or in smaller subsections of the array. This can be beneficial especially in large arrays as it enables smaller thresholds of detection to be implemented. This can lead to more rapid identification of potential faults and can assist in identifying the section of the array that may be affected.
The RCM may attempt to initiate re-connection if the leakage current threshold is below that specified in this subclause and the array insulation resistance meets the limit in 712.531.3.101.1.
b) Sudden changes in residual current: the PCE shall disconnect from any earth referenced output circuits (e.g. the mains) within the time specified in Table 712.5 and indicate a fault in accordance with 712.531.3.101.3 if a sudden increase in the RMS residual current is detected exceeding the value in the table.
| Residual current sudden change | Maximum time for disconnection from earth referenced circuit |
| 30 mA | 0,3 s |
| 60 mA | 0,15 s |
| 150 mA | 0,04 s |
| 30 mA | 0,3 s |
| Note: These values of residual current and time were originally taken from the RCD standard IEC 61008-1 but are no longer related to protection against electric shock in the meaning of this document. | |
Table 712.5 – Response time limits for sudden changes in residual current
The RCM may attempt to initiate re-connection if the leakage current threshold is below that specified in this subclause and the array insulation resistance meets the limit in 712.531.3.101.2.
Insulation fault alarm
To provide an indication as required by 712.531.3.101.1, an insulation fault alarm shall be installed. When activated the alarm is to continue its operation until the PV installation is shut down and/or the insulation fault is corrected.
The alarm shall be of a form that ensures that the operator or owner of the PV installation becomes aware of the fault. For example, the alarm may give a visible or audible signal placed in an area where operational staff or owners will be aware of the signal or another form of fault communication such as Email, SMS or similar.
Many PCEs have insulation fault detection and indication in the form of indicator lights. However, typical PCE mounting locations mean that this indication may not be noticed. IEC 62109-2 requires that PCEs have a local alarm and also a means of signalling an insulation fault externally.
Protection against the effects of insulation faults which includes the use of an IMD
Where an IMD is used in connection with protection against the effects of insulation faults, it shall be in accordance with IEC 61557-8.
If the IMD is an integral part of the PCE, the insulation monitoring function has to be in accordance with Annex D of IEC 62109-2: 2014.
Note 1: Protection against the effects of insulation faults by IMD is a possible choice where AC and DC sides are galvanically separated without functional earthing of a live part on the DC side (see 712.532.102)
Note 2: An IMD can also be necessary for reasons other than fire prevention, for example for continuous operation without interruption by a first fault. In PV arrays > 100 kWp an automatic insulation fault location system according to IEC 615579 is recommended.
Protection against the effects of insulation faults by disconnecting the functional earthing conductor
The device or association of devices required by 712.421.101.2.3 shall:
- Meet the relevant requirements of IEC 60364-4-43,
- Be rated for the maximum voltage of the PV array UOC MAX,
- Have a rated breaking capacity not less than the maximum short circuit current of the PV array ISC MAX, and
- Have a rated current not exceeding that given in Table 712.6.
| Total PV array power rating(kWp) | Rated current In(A) |
| 0 to 25 | 1 |
| >25 to 50 | 2 |
| >50 to 100 | 3 |
| >100 to 250 | 4 |
| >250 | 5 |
Table 712.6 – Rated current of automatic disconnecting device in the functional earthing conductor
Some module technologies require a functional earth on either the positive or negative main conductor to bleed charge away from the PV cells. This is a functional/operational requirement or it may be required to prevent degradation of the cells. It is recommended that the manufacturer’s instructions be followed. It is also recommended that, where possible, the functional earthing to bleed charge from the cells be via a resistor and not directly to earth. The recommended resistor value should be the highest resistor value allowable as per the manufacturer’s instructions.
Overcurrent protective devices of the DC side
The overcurrent protective devices of the DC side shall be:
- GPV fuses in accordance with IEC 60269-6, or,
- Circuit-breakers in accordance with IEC 60947-2 or IEC 60898-2 for which the manufacturer declares their suitability for use in PV installations.
These devices shall comply with the following specific measures:
- The rated operating voltage (Ue) shall be greater than or equal to the voltage UOC MAX of the PV array;
- The rated current In as defined in 712.433.1.101;
- The rated breaking capacity shall be at least equal to ISC MAX of the PV array and fault current from any other connected power sources, such as batteries or generators;
- Designed for direct current use;
- Be able to switch off critical current as defined in IEC 60947-1;
- Operation of the overcurrent protective devices shall be independent of the direction of current flow.
Selection of SPDs on the DC side
Due to the very specific electrical setup of PV installations on the DC side, only SPDs especially dedicated to PV installations shall be used to protect the DC side of such installations. The manufacturer of SPDs shall give the relevant information.
When the PCE incorporates SPDs on the DC side, they are considered as fulfilling the surge protective function only if the manufacturer of the PCE specifies their convenient use for the DC side of PV installations and their specifications are adequate for the place of the installation (In, Imax, Iimp, ISCPV). Otherwise, protection shall be provided by external SPDs.
Note: Varistors included in the PCE are not considered as SPDs.
The voltage protection level Up of external SPDs shall be determined in relation to the characteristics of the devices incorporated in the PCEs. The PCE manufacturer shall in that case provide the voltage level needed for the selection of external SPDs.
Selection of SPD test class
Generally SPDs will be class II test. If protection against effects of direct lightning strokes is specified and separation distance S is not kept in accordance with IEC 62305 (all parts), class I test SPDs shall be used (generally in conjunction with class II test SPDs).
Selection of SPD voltage protection level Up
Where no information is provided by the manufacturer, the impulse withstand voltage Uw shall be considered equal to that in Table 712.7 for the modules and conversion equipment.
| UOC MAX (V) | Uw (kV) | |
| PV module | Inverter | |
| 100 | 0,8 | – |
| 150 | 1,5 | – |
| 300 | 2,5 | – |
| 400 | – | 3,1 |
| 600 | 4 | 4,2 |
| 800 | – | 5,1 |
| 1000 | 6 | 5,6 |
| 1500 | 8 | 8,5 |
Table 712.7 – Impulse withstand voltage Uw where no information is available
Selection of SPD maximum continuous operating voltage Ucpv
The value of the maximum voltage acceptable by the surge protective device Ucpv shall be selected according to the maximum no-load voltage of the PV array UOC MAX. The voltage Ucpv shall be greater than or equal to the maximum voltage UOC MAX of the PV array.
An SPD shall be selected and arranged with regard to the maximum voltage UOC MAX between:
- its live terminals (+ and – terminals), and
- its live terminals (+ and – terminals) and earth.
Selection of SPD short circuit current rating ISCPV and of protective device associated with the surge protective device
If required by the manufacturer, the surge protective device shall be provided with an external automatic disconnecting device selected in accordance with the manufacturer’s specification.
The device shall be selected to operate whatever the current produced by the PV modules.
An external disconnecting device is required as an SPD could fail to a short-circuit condition.
The short-circuit current rating ISCPV shall be selected according to the maximum current that can be delivered by the PV array ISC MAX. The current ISCPV shall be greater than or equal to ISC MAX of the PV array. Surge protective devices for which this parameter is not given shall not be used.
Selection of class I tested SPDs impulse current Iimp
If the impulse current Iimp cannot be calculated, Iimp shall not be less than 12,5 kA. This value is referring to lightning protection level LPL III.
Erection of SPDs on the DC side
SPDs on the DC side shall be located as close as possible to the PCE.
To provide protection, additional SPDs may be required, further from the PCE.
Note 1: An example is where the distance between the entrance of the DC cable into a building and the PCE is longer than 10 m.
Note 2: The surge voltage level on the equipment depends on its distance away from the SPD. Beyond 10 m, the value of this voltage can be doubled due to the effect of resonance (amplification phenomena due to the high frequencies of the lightning surges).
Connecting conductors of SPDs
- When SPDs are installed on both AC and DC sides of the invertor in separate switchboards, it is recommended to minimize the distance between those switchboards.
- For DC SPD connections to the main earthing terminal the conductors shall have a minimum cross section of 6 mm2 copper or equivalent for Class II tested SPDs and 16 mm2 copper or equivalent for Class I tested SPDs.
Disconnections means
Disconnecting means with isolation function shall be provided for the invertor, on both the DC side and the AC side.
Disconnecting means with isolation function shall be provided in PV array to isolate circuits
and equipment.
Location of the switch-disconnector for the PCE
The switch-disconnector shall be so located that maintenance of the PCE (e.g. change of a PCE module, change of fans, cleaning of filters) is possible without risk of electrical hazards. The switch-disconnector may be in the same enclosure with the PCE.
Devices for isolation within the PV array
Devices shall be provided in accordance with Table 712.8.
| Circuit or part of circuit | Means of isolation | Requirement |
| String | Disconnection device a | Recommended |
| Sub-array | Disconnection device a | Required |
| Means of isolation offering load-breaking capabilities b | Recommended | |
| Array | Means of isolation offering load-breaking capabilities | Required |
| a: Sheathed (touch safe) connector, fuse combination unit, or isolator are examples of suitable disconnection devices. b: Where a switch-disconnector is used, this may also provide the isolation function. | ||
Table 712.8 – Disconnection device requirements in PV array installations
Means of isolation that are not capable of breaking load current shall be marked to indicate that they are no-load break devices, and shall be accessible only by means of a tool or key.
Where multiple sub-array disconnection devices are installed close to the PCE (i.e. within 2 m and within line of sight), a PV array cable need not be provided and therefore there is no need for a PV array load breaking switch. In this case the switches for the sub-arrays shall all be load breaking switches.
Where multiple disconnection devices are required to isolate the PCE, a warning sign shall be provided indicating the need to isolate multiple supplies.
Disconnectors and switch-disconnectors
All switch-disconnectors shall be selected and erected to comply with the following requirements:
- not have exposed live metal parts in connected or disconnected state;
- have a current rating equal to or greater than that required for the circuit conductors;
- not be polarity sensitive (fault currents in a PV array may flow in the opposite direction of normal operating currents).
Switch-disconnectors shall be compliant with IEC 60947-3 and have mechanisms that have independent manual operation.
Functional earthing
For mechanical protection, the minimum cross-sectional area for a functional earthing conductor is 4 mm2 copper or equivalent.
Separate earth electrode
If a separate earth electrode is provided for the PV array, this electrode shall be connected to the main earthing terminal of the electrical installation by main equipotential bonding conductors.
Bonding of PV metal structures
Where such bonding is necessary (e.g. to facilitate the correct operation of the array insulation resistance detection referred to in 712.531.3.101.1), the metallic structures supporting the PV modules (including metallic cable trays) shall be bonded.
Such bonding may be necessary, for example, where a transformerless PCE induces an electrostatic charge.
The bonding conductor shall be connected to any suitable PE terminal.
Where these metal structures are of aluminium, appropriate connection devices shall be used.
The bonding conductors (insulated or bare) shall have a minimum cross section of 4 mm2 copper or equivalent.
PV array bonding conductors shall be run as close to the positive and negative PV array and or sub-array conductors as possible to reduce induced voltages due to lightning.
Measures to prevent DC on-load interruption
In order to prevent arcing, every device without breaking capacity that could be used to open a DC circuit shall be secured against inadvertent or unauthorized operation.
Note 1: Examples of devices to which this requirement applies are SPD carriages and fuse carriers.
Note 2: This can be achieved by locating the device in a lockable space or enclosure or by padlocking.
Blocking diodes
Blocking diodes shall not be used as an alternative to overcurrent protective devices.
Blocking diodes may be used to prevent reverse currents in sections of a PV array.
If used, blocking diodes shall comply with the following requirements:
- Have a voltage rating at least 2 times UOC MAX;
- Have a current rating IMAX of at least 1,4 times the short circuit current at STC of the circuit that they are intended to protect; that is:
- 1,4 × ISC MOD for PV strings;
- 1,4 × ISC S-ARRAY for PV sub-arrays;
- 1,4 × ISC ARRAY for PV arrays;
- Be installed so no live parts are exposed;
- Be protected from degradation due to environmental factors.
PV installation information
Figure A.712.1 – Single string PV array
Figure A.712.2 – Parallel connected multi-string PV array
The following types of application circuit are considered:
- PV array is connected to AC loads via a PCE with a transformer inside the PCE;
- PV array is connected to AC loads via a PCE with a transformer outside of the PCE;
- PV array is connected to AC loads via a PCE without a transformer.
In Table A.712.1, several configurations are considered. No consideration is given to earthing of exposed conductive parts.
| DC side | Figures | Application circuit | Consequence on the status of the PV array |
| Unearthed | Figure A.712.3 | AC side connected via a PCE with a transformer inside of the PCE | Floating |
| Figure A.712.4 | AC side connected via a PCE without a transformer | Fixed by the status of the neutral or a line conductor of the supply circuit | |
| Earthed | Figure A.712.5 | AC side connected via a PCE with a transformer inside of the PCE | Fixed to earth |
| Figure A.712.6 | AC side connected via a PCE without a transformer inside of the PCE but a transformer outside of the PCE | Fixed to earth |
Table A.712.1 – PV DC configurations
Figure A.712.3 – Unearthed PV array connected to the AC side via a PCE with transformer
Figure A.712.4 – Unearthed PV array connected to the AC side via a PCE without a transformer
Figure A.721.5 – Earthed PV array connected to the AC side via a PCE with transformer
Figure A.712.6 – Earthed PV array connected to the AC side via a PCE without a transformer, the transformer being separate
Calculation of UOC MAX and ISC MAX
Calculation of UOC MAX
UOC MAX is the maximum voltage across an unloaded (open circuit) PV module or PV string or PV array, calculated by the following formula:
UOC MAX = KU UOC STC
The correction factor KU takes into account the increase of open circuit voltage of modules, considering Tmin the lowest ambient temperature of the PV installation site and αUOC the temperature variation coefficient of UOC voltage provided by the PV module manufacturer:
KU = 1 + (αUOC / 100 ) (Tmin – 25)
where
αUOC is the temperature variation coefficient of UOC module voltage, in %/°C;
Tmin is the lowest temperature of the PV installation site, in °C.
αUOC is a negative factor, which can be provided by the module manufacturer either in mV/°C or in %/°C. When αUOC is expressed in mV/°C, work it out in %/°C by using the formula:
αUOC (%/°C) = 0,1 αUOC (mV/°C) / UOC STC_Module (V)
Note: Example of module with αUOC expressed in mV/°C. The following calculation is an example:
- Multicrystalline module, UOC STC_Module = 38,3 V and αUOC = – 133 mV/°C →αUOC = – 0,35 %/°C
- Tmin = −15 °C → (T – 25) = −40°C → KU = 1,14 → UOC MAX = 1,14 UOC STC →UOC MAX = 1,14 × 38,3 = 43,7 V
αUOC can have very different values depending on the technology of PV modules.
For amorpheous silicon modules, electrical characteristics during the first weeks of operation are higher than the specified characteristics. This phenomenon is indicated by the module manufacturer and has to be considered in the calculation of UOC MAX.
Without information of the expected minimum temperature of the site or without information about the temperature coefficient of the PV module, UOC MAX shall be chosen equal to 1,2 UOC STC.
Calculation of ISC MAX
The maximum short-circuit current of a PV module or PV string or PV array is calculated by the following formula:
ISC MAX = KI ISC STC
Minimum value for KI is 1,25.
Under certain conditions, KI shall be increased to take into account environmental situations, for example increased reflection or solar intensity.
Figure C.712.2 – Example of switchboard sign for identification of PV on a building
Use of blocking diodes to prevent overcurrent/fault current in PV arrays
A blocking diode is an effective means of stopping reverse current in PV arrays. Overcurrent/fault current in arrays is generally caused by current flowing from one section of an array operating normally into a section of an array containing a fault. The fault current is in the reverse direction. Provided correctly rated and functioning blocking diodes are in use in the PV array, reverse currents are prevented and fault currents either eliminated or significantly reduced (see examples in Figure D.712.3). In some countries blocking diodes are allowed to replace overcurrent protective devices. This is an effective method of overcurrent/fault prevention provided the reliability of blocking diodes over time can be ensured.
Short-circuit in PV string
If a short-circuit develops in a string without blocking diodes as shown in Figure D.712.1 a), a fault current will flow around the faulted modules and extra fault current in the reverse direction will flow in some modules with the source of that current being from other strings.
The reverse current can be interrupted by an overcurrent protective device provided the current is greater than the interrupting current of the overcurrent device. This may not be the case under low illumination conditions.
The situation of the same fault with an array with blocking diodes in each string is shown in Figure D.712.1 b). The fault current around the faulted modules cannot be intercepted with the blocking diode, however, the amount of fault current can be significantly reduced by the blocking diode obstructing the reverse current supplied from other strings as shown in Figure D.712.1 b). This functionality for this type of fault is useful for all PV installations whether the PV array is earthed or not and whether the PCE is a separated PCE or not.
Figure D.712.1 – Effect of blocking diode at short circuit in PV string
Insulation fault in PV string for the array with a functional earth
Figure D.712.2 shows the fault current paths when an insulation fault occurs in a string of a PV array which is installed with a negative side functional earth. The worst case fault occurs when the fault is closest to the top of the string (i.e. the side furthest away from earth). In this case the blocking diodes need to be installed in the positive side of the strings.
Figure D.712.2 – Effect of blocking diode where there is an insulation fault on a PV installation with earthing on the DC negative side
Figure D.712.3 shows the fault current paths when an insulation fault occurs in a string of a PV array which is installed with a positive side functional earth. The worst case fault occurs when the fault is closest to the bottom of the string (i.e. the side furthest away from earth). In this case the blocking diodes need to be installed in the negative side of the strings.
Figure D.712.3 – Effect of blocking diode where there is a fault on a PV installation with earthing on the DC positive side
In these cases Figure D.712.2 and Figure D.712.3 clearly show the advantage of a blocking diode in eliminating the fault current contribution from adjacent strings of the array. This diagram shows the situation of a directly earthed array with no impedance in the earth connection. It is preferred in this document to install functional earths with limiting resistors in the earth connection. If this method is used the potential fault current under these conditions is significantly reduced by the effect of the resistance limiting the maximum current.
Heat dissipation design for blocking diode
Because the voltage drop of the blocking diode in the forward current operation might exceed 1 V, it is necessary to consider a heat dissipation design of diode for reliability. A heatsink may be required to keep diode junction temperatures within safe limits. A heat dissipation design methodology is shown in the following procedures:
- Calculate maximum current IMAX by PV module current ISC MOD in STC. IMAX =1,4 × ISC MOD (Use a higher factor depending on operating conditions)
- Obtain the operating forward voltage of the blocking diode VD_OP at IMAX from the operating characteristics of the diode.
- Calculate power dissipation PCAL. PCAL = VD_OP × IMAX
- Calculate the thermal resistance RTH according to the following expression so that the junction temperature TJ of the blocking diode should not exceed the limit value in consideration of ambient temperature TAMB. RTH = (TJ – TAMB)/PCAL
- If the thermal resistance required is less than the diode’s junction to case plus case to air thermal resistance, then a heatsink will be required.
When there is a possibility of increased short-circuit current of the PV module, for example due to the reflection of snow or other conditions, the multiplier for the calculation of IMAX should be larger than 1,4.
Arc fault detection and interruption in PV arrays
Unlike traditional electrical products, PV modules and wiring do not have an overall enclosure to contain arcs and fires resulting from component or wiring faults. Many PV installations operate at DC voltages which are very capable of sustaining DC arcs.
There are three main categories of arcs in PV installations (refer to Figure E.712.1).
- Series arc which may result from a faulty connection or a series break in wiring;
- A parallel arc which may result as a partial short circuit between adjacent wiring which is at different potentials;
- Arcs to earth which result from failure of insulation.
If an arc develops due to a fault in a PV array this can result in significant damage to the array and may also result in damage to adjacent wiring and building structures. The most serious arc is likely to be a parallel arc because of the energy that is available to feed this type of arc, especially when the arc is between the main PV array conductors. This document requires cables in PV array wiring to be suitable to be used with Class II equipment, and because of this requirement parallel arcs are very unlikely, unless caused as a result of significant insulation damage due to fire damage or severe mechanical damage to cables.
The most likely type of arc to occur in a PV installation is a series arc. This is because PV installations typically contain a very large number of series connections. Series arcs are generally able to be stopped quickly by removing the electrical load from the PV array. In the case of grid connected PV installations this can be accomplished easily by shutting down the PCE. Parallel arcs are much more difficult to extinguish but are also much less likely to occur.
Figure E.712.1 – Examples of types of arcs in PV arrays
If a series arc is not extinguished quickly it may propagate to involve other conductors and produce parallel arcs. It is therefore desirable to have a method of detecting and interrupting arcs in PV installations quickly. A new standard has been developed by Underwriters Laboratories – UL1699B “Photovoltaic (PV) DC Arc-Fault Circuit Protection” and manufacturers are in the process of developing equipment to meet this standard. The purpose of the arc-fault circuit protection equipment is to detect and discriminate accurately arcs in PV arrays and to take action to interrupt the arc.






















